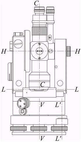
(1)经纬仪的轴线及其应满足的关系
视准轴CC、横轴HH、管水准器轴LL、竖轴VV。
轴线应满足的关系
①LL⊥VV
②十字丝竖丝⊥HH
③CC⊥HH
④HH⊥VV
⑤竖盘指标差x=0
⑥光学对中器的视准轴与竖轴重合


(2)经纬仪的检验与校正
①LL⊥VV的检验与校正
检验:圆水准气泡居中,初平仪器。
管水准器轴平行于一对脚螺旋,居中气泡,照准部旋转180°,气泡居中,则LL⊥VV。

校正——校正针拨动管水准器一端校正螺丝,使气泡向中央移动偏距的一半,余下一半通过旋转与管水准器轴平行的一对脚螺旋完成。


②十字丝竖丝⊥HH的检验与校正
检验:用十字丝交点精确瞄准远处一目标P,旋转水平微动螺旋,点左、右移动轨迹偏离十字丝横丝时要校正。
校正:卸下十字丝分划板护罩,松开4个压环螺丝,缓慢转动十字丝组,直到照准部水平微动时,P点始终在横丝上移动为止,最后旋紧四个压环螺丝。


③CC⊥HH的检验与校正
检验:平坦场地,选相距约100m的A,B两点仪器安置于A,B连线的中点
A点设置与仪器等高的标志
B点设置与仪器等高的水平标尺,垂直于视线OB盘左瞄A点,固定照准部纵转望远镜,瞄B尺读数B1盘右瞄A点,固定照准部纵转望远镜,瞄B尺读数B2,B1≠B2需要校正

校正:由B2点向B1点量取B1B2/4长度定出B3点,OB3⊥HH,用校正针拨动十字丝环的左右一对校正螺丝→十字丝交点与B3点重合完成校正后,应重复上述的检验操作直至满足C60″为止。


③HH⊥VV的检验与校正
横轴不垂直于竖直,偏离正确位置的角值i——横轴误差,i20″时,必须校正
检验:高墙上固定清晰照准标志P,距墙面20m~30m安置经纬仪盘左瞄准P点,固定照准部;望远镜视准轴水平墙面定出P1点纵转望远镜,盘右瞄准P点固定照准部,望远镜视准轴水平,墙面上定出P2点,横轴误差为:


校正:打开仪器的支架护盖,调整偏心轴承环,抬高或降低横轴的一端使i=0,需要在无尘的室内环境中,使用专用的平行光管进行操作,用户不具备条件时,一般交专业维修人员校正。
⑤竖盘指标差x=0的检验与校正
检验:安置好仪器,盘左、盘右观测某清晰目标竖直角一测回,计算指标差x
盘左竖直角:αL=90°-L
盘右竖直角:αR=R-270°
指标差:x=(αR-αL)/2
校正:消除了指标差的盘右竖盘正确读数为R-x,旋转竖盘指标管水准器微动螺旋,使竖盘读数为R-x,此时,竖盘指标管水准气泡必然不再居中用校正针拨动竖盘指标管水准器校正螺丝,使气泡居中,该项校正需要反复进行。
⑥光学对中器的视准轴与竖轴重合的检验与校正
检验:地面上放置白纸,白纸上画十字形的标志,以标志点P为对中标志安置仪器,旋转照准部180°,点像偏离对中器分划板中心到P’时,对中器视准轴与竖轴不重合,需要校正。
校正:在白纸上定出P’与P点的中点O,转动对中器校正螺丝使对中器分划板中心对准O点。需要反复进行。




















