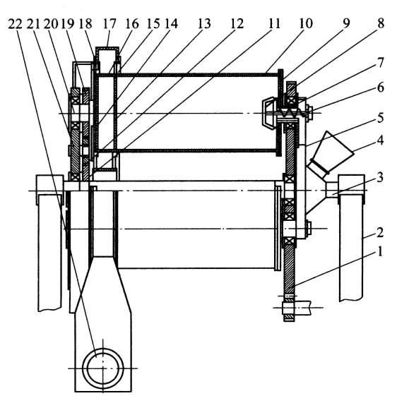
图1是一种国产实用新型行星式球磨机的结构。它主要由机座、磨筒、主轴、公转盘及传动装置组成。


图1行星式球磨机的结构1-大齿轮盘;2-机座;3-主轴;4-加料斗;5-中空的多边形进料转盘;6-螺旋体;7-空心轴;8-防护罩;9-磨筒前端板;10-磨筒;11-固定齿轮;12-中间齿轮;13-出料筛板;14-磨筒后端板;15-动密封盘;16-出料槽;17-收粉罩;18-密封圈;19-自转齿轮;20-磨筒后端轴;21-公转盘;22-出料口
由电机经小齿轮带动的大齿轮盘1经轴承装在主轴3的前端;主轴装在机座2上,通过轴承均布安装在大齿轮1上的空心轴7两端分别与磨筒前端板9和进料转盘5的顶角内侧连通,进料转盘5的中心穿过主轴3与进料斗4套接,磨筒后端轴20经轴承装在位于主轴后端的公转盘21上并装有经中间齿轮12与固定在主轴上的固定齿轮11啮合的自转齿轮19,螺旋体6内端与安装在磨筒前端板内的防护罩8固定连接,防护罩主要是为了能让物料进入磨筒又能防止磨筒内的物料介质损坏螺旋体而设计的,螺旋体6一端穿过空心轴7经轴承与进料转盘5外侧壁活动连接;出料筛板13装在磨筒10的后部,出料槽16分布在出料筛板13与磨筒后端板14之间构成的出料腔的侧壁上,收粉罩17罩在出料腔上,收粉罩的下方开有出料口22。为了减少工作时的振动、噪音和提高效率,所述的中空多边形进料转盘5的边数与磨筒10的数量一致并等于或大于3。为了防止粉尘外泄,在出料腔与粉尘罩之间装有动密封盘15和密封圈18。
工作时,电机驱动大齿轮盘1绕主轴3转动,使安装在大齿轮盘上几个磨筒和后端的公转盘一起转动而形成公转;由于安装在主轴上的固定齿轮不随之转动,迫使与其啮合的中间齿轮带动自转齿轮转动,从而使磨筒在公转的同时又进行自转而呈行星轮系转动;物料由进料斗进入进料转盘,由于进料转盘呈多边形且与大齿轮盘同转,使物料能分布在进料转盘的顶角附近,顶角处的空心轴中的螺旋体因其内端与防护罩固定连接,所以能随磨筒自转而将物料强行压入磨筒进行研磨;物料在磨筒内边被研磨边向出料筛板处移动,被磨细的物料经出料筛板使球料分离进入出料腔,再从出料腔侧壁的出料槽抛落到收粉罩中靠重力下落到出料口而实现干法连需进出料的目的。
行星式球磨机的工作原理如图2所示,转臂(即行星架)上装有数个磨筒,磨筒除了绕自身轴以角速度w旋转外,还绕固定主轴以角速度W公转。磨筒内装有研磨体和粉料(统称为物料)。在公转作用下产生一定的离心力,通过自转导致物料之间的冲击和研磨,从而达到粉碎的目的。
图2行星式球磨机的工作原理示意图
这种磨机因有公转和自转两个参数,可方便的得到不同的挤压力和粉碎速度,以适应不同硬度的粉料加工,也可调节生产能力。
行星球磨机磨筒内的物料运动主要有五种方式:①脉动。物料以群的方式作为整体远离公转中心,并随筒自转到某一角度后,朝自转相反的方向滑动,研磨体在磨机避上推动粉料层,对物料施加压缩、剪切、摩擦力。②抛落。物料随磨筒转到某一角度后,对筒壁的压力等于零时离开筒壁抛落,对物料施以冲击作用。③环流。物料沿同心圆轨迹升高,然后一层层泻落,呈环流状态,对粉料施以挤压研磨和摩擦作作用。④物料随磨球作圆周运动,并与之相对滑动,对粉料施以摩擦作用。⑤贴紧。筒壁处物料随磨筒无滑动旋转,失去粉碎作用,但可用来保护磨筒内壁,减小磨损。其中起超细粉碎作用的主要是环流和滑动运动。




















