自动控制中的几种小型直流电机驱动电路
在自动控制中,计算机
直流电机的驱动比较简单,既可通过继电器或功率晶体管驱动,也可利用可控硅或功率型MOS场效应管驱动。为了适应不同的控制要求(如电机的工作电流、电压,电机的调速,直流电机的正反转控制等),下面介绍几种电路,满足这些要求。

图1电路利用了达林顿晶体管扩大电机驱动电流,图示电路将BG1的5A扩流到达林顿复合管的30A,输入端可用低功率逻辑电平控制。

上述电路采用的驱动方式属传统的单臂驱动,它只能使电机单向运转,双臂桥式推挽驱动可使控制更为灵活。图2为一款单端逻辑输入控制的桥式驱动电路,它控制电机正反转工作,这个电路的另一个特点是控制供电与电机驱动供电可以分开,因此它较好地适应了电机的电压要求。

图3也为单端正负电平驱动桥式电路,它采用双组直流电源供电,该电路实际是两个反相单臂驱动电路的组合。图3也能控制电机的正反转。
图4电路以达林顿管为基础驱动电机的正反转,它由完全对称的两部分组成。当A、B两输入端之一为髙电平,另一端为低电平时,电机正转或反转;当两输入端同为高或低电平时,电机停转;如采用脉宽调制,则可控制电机的转速,因此图4具有四种组合输入状态,电机却可以产生五种运行状态。这里箝位二极管D1、D2的加入具有重要的作用,它使达林顿管BG2,BG3不会产生失控,这在大功率下运转时更显安全。本电路的另一特点是输入控制逻辑电平的高低与电机的直流工作电压无关,用TTL标准电平就能可靠地控制。

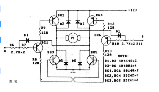
与图4相比,图5的桥式驱动电路更为有趣,其一它是以低电平触发电机运转;其二控制端A、B具有触发锁定功能;其三具有多种保护,如D1、D2的触发锁定,D3—D6的功率管集电极保护等。因此本电路只有三种输入状态有效,电机仍有五种工作状态。D1,D2的作用是:若A为低电平时,BG1、BG2、BG5导通,BG2集电极的髙电平将通过D2封锁B端的输入,保证BG6截止,若本电路采用TTL电路触发,必须选用集电极开路门电路。
因电机对供电稳定的要求并不高,图6的驱动电路不失为一种交流供电方案,交流电经全桥整流后,驱动并联使用的MOS场效应管Q1、Q2,R3、C1起滤波作用;续流二极管D用以防止高电压对Q1、Q2的破坏。

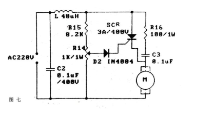
图7利用可控硅的整流特性驱动直流电机,本电路仅适用于小功率电机调速,R2,C3的滤波网络可以吸收电机的反电动势保护SCR,C2与L组成的滤波器,能抑制电网干扰。
用集成电路驱动电机的情况也较多,和一般的三端稳压器直接驱动不同,图8电路使电机可以获得从0V至7V的驱动电压,因而具有低压调速性能,IC1为
正输出的固定稳压器,IC2为可调负输出的四端稳压器,调节R1可以使电机获得零电压,由于IC2的散热片内部与输入端相连,因此IC1,IC2可用公共散热器,以适应低压工作。



图9采用功率型运放驱动电机,属桥式驱动电路,控制信号从R1,R2,RP1,RP2组成的惠斯登电桥

几种微型电机驱动电路分析
以下所述电路用于3V供电的微型直流电机的驱动,这种电机有两根引线,更换两根引线的极性,电机换向。该驱动电路要求能进行正反转和停止控制。
电路一:
如下图所示,这电路是作者最初设计的电路,、和分别是51单片机的IO引脚。设计的工作原理是:当高电平、和都为低电平时,电机正转。此时,Q1和Q4导通,Q2和Q3截止,电流注向为+5VàR1àQ1àMàQ4;当低电平、和都为高电平时,电机反转。此时,Q2和Q3导通,Q1和Q4截止。为高电平同时为低电平时,电路全不通,电机停止。
图中电阻:R1=20Ω,R2=R3=R4=510Ω

但实际实验情况去出人意料,即电机正向和反向都不转。经测量,当高电平,和都为低电平时,Q4导通,但Q1不导通,的电平只有0.67V左右,这样Q1无法导通。
经分析原因如下:51的P1、P2、P3各引脚都是内部经电阻上拉,对地接MOSFET管,所谓高电平,是MOSFET截止,引脚上拉电阻拉为高电平。若此内部上拉电阻很大,比如20K,则当上图电路接上后,则流过Q1的b极的电流最大为(5-0.7)/20mA=0.22mA,难以动Q1导通。所以此电路不通。
总结:51单片机的引脚上拉能力弱,不足以驱动三极管导通。
电路二:
如下图所示:这个电路中四个三极管都采用PNP型,这样,导通的驱动是控制引脚输出低电平,而51的低电平时,是通过MOSFET接地,所以下拉能力极强。
但此电路的Q1和Q3需要分别控制,所需控制引脚较多。如果要用一个IO脚控制则可以加一个反相器。
但此电路的Q1和Q3需要分别控制,所需控制引脚较多。如果要用一个IO脚控制则可以加一个反相器。如图3所示。图中标有各点实测电压值。


电路三:
在电路二中,由于Q2和Q4的发射极高出基极一个0.7V,而基极最低为0V,实际由于CPU引脚内部有MOSFET管压降,所以Q2和Q4的发射极不会低于1V,这样使M两端的有效电压范围减小。
要解决这一问题,则Q2和Q4需换成NPN管。但NPN管的驱动如电路一所示,只靠CPU引脚的上拉是不行了,所以需要另加上拉电阻,如下图所示。

上图中,与电路一不同的是两只NPN管移到了下方,PNP在上方,这样,Q1和Q3的集电极的电位最低可达到一个管压降(0.3V)。这样增加了M的压降范围。
但为了保证对NPN管的足够的驱动,和必须加上拉电阻,如图所示。图中,R2、R5、R6都不可少。所以这种电路的元件用量比较大。
还有,R5应该比R6大几倍,比如10倍,这样,当Q1导通时,处的电压可以分得较大,不致于使Q2导通。如果R5太小或为0,则当Q1导通时,由于处的压降只有0.7V左右,将使Q2也导通。
经过试验,R2、R6、R3、R4可取510Ω,R5取5.1kΩ。这种值下各处的电压如下(R1为20欧):
U1:4.04U2:2.99U3:3.87U4:4.00U5:0.06U7:0.79
电路四:
这个电路由电路一改造而来,如下图5,图中标有各点实测电压值:

此图中基极的限流电阻都去掉了,因为作者设计的电路对元件要求要少。从电路上分析,不要没什么关系,有R1起着总的限流作用,而且引脚内部有上拉电阻,这样保证电路不会通过太大的电流。
这个电路可以使电机运行。
但在R2的选择上,比较讲究,因为R2的上拉作用不但对Q1有影响,而且对Q2的导通也有影响。如果R2选的过小,则虽然对Q1的导通有利,但对Q2的导通却起到抵制作用,因为R2越小,上拉作用越强,Q2的导通是要电位越低越好,所以这是矛盾的。也就是说,Q1的导通条件和Q2的导通条件是矛盾的。
经实验,R2取5.1k欧比较合适。由此可见,这个电路虽然很省元件和CPU引脚,但驱动能力有个最大限,即Q1和Q2的驱动相互制约下,只能取个二者都差不多的折中方案。否则如果一个放大倍数大,则另一个则会变小。
总结:以上电路各有利弊,要视应用场合选用。












![[伤寒心法要诀]少阳病用柴胡汤加减法](/imgs/baidou-v2/upload/default/19F5C4CFC.jpg)







