

约瑟夫伯德(1904年–1978年)是一位瑞士登山家和发明家。约瑟夫伯德拥有多项发明专利。其中最广为人知的瑞士陆军游侠火山炉(borde6号燃烧瓶),它被广泛的应用于瑞士山地师。
然而更另收藏家追捧的是其设计的自加压式borde油炉,它的设计和工作模式极具特点,小巧精致,火力凶猛,启动方式和火力调节模式都极其另类,是世界油炉中一颗剑走偏锋的"怪胎"。


(一)borde油炉简述
拿现今最为常见的borde33型油炉为例(上两图所示为borde33油炉),并且他也是borde油炉系列中最大的型号,重250克,全长16cm,高5.5cm,三秒启动(),均衡火力简单推算为2.5kw,如国内炉友马虹所说,borde是设计精致,使用粗旷的代表。
然而我们看到了设计的精致,而使用粗旷何来呢,这就是borde油炉所有型号的两个共同特点:
一是启动方式,borde不同于其他小型油炉专门预热碗预热槽等方式,borde预热方式十分简单,即是转动十字燃烧器,倒置轻晃油炉,点燃喷嘴处溢出油液,从而完成预热。

并且按照说明书,这种预热方式完全手持就可以完成,就类似手里拿了个火把,想来觉得十分搞笑。由于borde燃烧器和油箱的紧凑,所以极快的就完成了初期的热辐射加压和预热气化。
二是在于控火设计,borde油炉采用的控火方式均是通过转动十字燃烧器调节火力大小,十字燃烧器的下方焊接了一截顶针。(下面以borde33为例)。
在关闭状态时,十字燃烧器紧贴螺口,在最底位置,顶针顶入喷嘴,堵住油气的释放。

当开始顺时针转动十字燃烧器时,顺着螺纹,十字燃烧器和顶针上升,喷嘴不再被完全堵住,会开始释放喷射油气,随着十字燃烧器和顶针不断上升,顶针会完全从喷嘴中升出,此时会达到最大的火力。


控火功能由一根调节杆完成。

(二)borde油炉发展历程梳理
borde从设计伊始至今已有众多版本,borde33只是其中最常见的一款,若对不同样式的borde油炉做以分类,从时间上疏理,我有一个不算成熟的推测,borde油炉应该大致分为三个设计阶段:





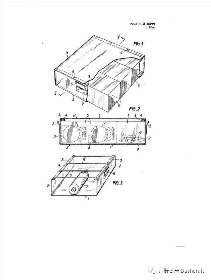
第二阶段borde油炉采用十字线圈燃烧器,燃烧器位于油炉末尾前端(最具代表性的就是borde33),对于第二阶段完成时间,难以查到详细资料,仅仅通过1953年的borde挡风锅架设计专利,推测borde第二阶段油炉设计成与1953年前。
并且以瑞士陆军游侠火山炉(borde6号燃烧瓶)适配borde33型油炉作为根据,再依据瑞士陆军游侠火山炉的设计时间推测,第二阶段油炉应该设计完成于1951年前。

设计图中我们可见borde33油炉






所以有人也说第二阶段基本确定了borde油炉的最终设计,那就是极具特点的十字线圈燃烧器。
(三)关于第三阶段和第二阶段时间前后的争议
有炉友认为第三阶段应该早于第二阶段,因现在最容易见到的是borde33型油炉,并且延伸了诸多变种例如短borde(borde14),所以有炉友认为第二阶段应该从时间上是最靠后的,我个人根据仅仅可以找到了专利申请等资料判断,第二阶段应该还是早于第三阶段,并且,虽然第二阶段现在存世量大,延伸诸多变种版本,并不能代表它的时间最靠后,1960年通过专利申请的扁罐borde线圈炉,是明显基于第三阶段的变种。所以通过此也可推测第三阶段,时间最靠后。
当然这也只是我的个人之见,欢迎各位朋友指导。
(四)borde第二阶段诸多变种欣赏

(瘦borde)

(短borde)borde14




















