水流开关是对水流量自动控制和保护的装置。当水流量变化时,水流对靶片产生的作用力使得杠杆转动,控制电路闭合或断开,从而达到自动控制的目的。水流开关在冷水机组和空调工程的水系统(以下统称为空调系统)中有着广泛的应用。

水流开关的工作过程:
在冷水机组冷冻水的出水端和水冷冷水机组冷却水/冷冻水的出水端,都会安装水流开关。常闭水流开关(空调系统正常运行时,水流开关控制电路是闭合的,这里指的水流开关状态是常闭的)工作过程为:当水流量达到一定值时,水流开关闭合,此后压缩机启动,空调系统开始运行。如果空调系统中有水泄漏或其他原因导致系统水流量减少,当水流量降低到一定值时,水流开关断开,同时压缩机停机,空调系统停止运行。

1.冷却水出水管;2.水冷冷水机组冷凝器;3.水冷冷水机组蒸发器;4.冷冻水出水管;5.水流开关。
水流开关在空调系统中的安装位置
水流开关的作用:
当空调系统具有足够水流量时水流开关闭合,此后压缩机启动,从而保证空调系统安全和高效运行。
1)当冷冻水流量偏小时,蒸发器负荷不足,蒸发温度偏低,制冷量下降,运行效率降低。
2)当冷冻水流量极小时,蒸发器负荷严重不足,蒸发温度很低,蒸发器结冰(甚至冻裂),压缩机吸气压力很低。若系统长时间在这种工况下运行,会导致压缩机因回油困难而被损坏。
3)当水冷冷水机组冷却水流量偏小时,冷凝器散热效率偏低,氟系统热量不能及时全部散出,导致系统冷凝温度上升,制冷量下降,运行效率降低。
4)当水冷冷水机组冷却水流量极小时,冷凝器散热严重不足,冷凝温度上升到很高,压缩机排气温度超高。若系统长时间在这种工况下运行,会导致压缩机因润滑油碳化而被损坏。
设计流量值:
举例说明计算某一制冷量的冷水机组冷冻水水流开关的闭合和断开流量值的方法。
已知冷水机组的制冷量为32kW,试计算与其匹配的水流开关的闭合和断开流量值。
1)计算水流开关的闭合流量值机组蒸发器设计水流量(m3/h)可按式(1)计算:

⑴
式中:Q0为制冷量(kW);ρ为载冷剂密度(kg/m3);Cp为载冷剂比热容(kJ/(kg·℃));Δt为载冷剂在蒸发器中的温降(℃)。
查表得:ρ=1000kg/m3,Cp=4.187kJ/(kg·℃)。根据标准工况,进水温度t1=12℃,在制冷剂-水蒸发器中,水侧温降一般为4~6℃,取温降Δt=5℃,则闭合流量(m3/h)为:

⑵
考虑到水流开关的感应误差,取水流开关的闭合流量值为(5.5±0.2)m3/h。
2)计算水流开关的断开流量值
在制冷剂-水蒸发器中,一般蒸发温度比出水温度低4~6℃(取5℃)。当出水温度t2≤3℃时,蒸发温度≤-2℃,此时,蒸发器局部易结冰。
因而水流开关的断开流量值,以出水温度t2=3℃时的水流量为准。此时,Δt=t1-t2=12-3=9℃,则断开流量(m3/h)为:

⑶
考虑到水流开关的感应误差,取水流开关的断开流量值为(3.1±0.2)m3/h。
靶式水流开关的应用:
靶式水流开关是采用不锈钢舌簧片检测水流情况,当有水流时,舌簧片弯曲,带动微动开关动作,从而提供水流状态信号。波纹管作为水电隔离部件。

安装要求较高,且在小管径安装时阻力较大,在弯曲管路上不能安装。安装在小管径或水流量较小时易受水流的抖动而频繁动作。安装在大管径弯头处时容易造成靶片断裂。
管路静压冲击波纹管,且波纹管频繁动作容易疲劳。

靶式流量开关靶片断裂的原因:
作用在靶式流量开关的靶片的力跟水流速度和靶片的面积有关,流速和靶片面积越大作用在靶片上的力就越大,通常安装在大管径的水流开关为了更好的感测水流,现场经常安装最长的靶片,由于作用在靶片上的力大,致使靶片过度弯曲而失去弹性,严重时导致靶片断裂。
靶式流量开关通常需要离弯头和阀门距离要在5倍的管径以上,由于目前大楼的机房面积偏小,无法保证足够的直管段安装水流开关,举例:DN300的管径,水流开关前后保证有1500m的直管段几乎不可能,这是许多现场水流开关发生故障的一个非常重要的原因。


在弯曲的管道中,由于弯曲管壁的导流作用,其内侧流速增大,外侧流速逐渐减小,形成了各个过流断面的梯形速度分布规律,致使整个靶片受力不均而断裂。
水泵每次启停产生的水锤带来的冲击将导致靶片过度弯曲或断裂,管径越大这种风险就越大。
压差式流量开关可以安装在弯头或阀门处,可以大大减少因为满足安装靶式流量开关所需的直管段,节约了工程造价,同时也大大提高了水流保护的稳定性,目前在电子厂已经得到大量的应用。

压差式水流开关的应用:
对于水流量的测量,可通过测量阀门、孔板等两端的压降,得到流量目前已广泛用在HVAC的水侧系统及流量测量仪表。
压差式水流量开关是利用换热器有水流通过时产生压降的原理检测水流状态,是一种精确的流量控制方式。安装简单,流量控制相对精确,动作和复位均有明确的流量值。
在双工况冷水机组的冰蓄冷系统:

冰蓄冷的乙二醇溶液的温度可能低达-10℃,波纹管与大气接触,与微动开关接触的也是金属件,水流开关非插入乙二醇溶液的外部的金属部件可能低于0℃。
波纹管及微动开关可能产生冷凝水或结冰。压差式流量开关的动作部件不与乙二醇接触。
在一次泵变流量的系统:
一次泵变流量完全可以大幅度降低水泵的能耗。也是目前冷水机组发展的方向。
由于传统靶式流量开关是检测水流速度的,当水流速度低于一定程度将无法检测或经常性出现误动作。
压差开关可以根据一次泵变流量正常运行允许的最小流量对应下的压差,来确定流量保护值,一旦运行流量低于最小允许流量即保护,确保换热器不会结冰冻坏。
高承压的水系统:
在超高层建筑中要求中央空调设备的承压要远高于10bar,而传统的靶式流量开关的由于是采用波纹管作为水电隔离的部件,所有承压只有10bar,如要提高承压也只有通过加大波纹管厚度牺牲其柔韧度来实现的,其对小流速感测能力降低。
压差式流量开关没有波纹管,使用磁性相斥的原理检测的,承压可以达到20bar甚至更高。
压差开关在并联冷水机组的系统中的安装:
对于多冷水机组并联的系统,需要在冷水机组的换热器进出口取压,而不能在单向阀或电动蝶阀后取压,否则测到的是整个系统的压差。

压差式流量开关安装示意图:

靶式水流开关与压差水流开关在大型冷水机组水流控制应用对比:
满液式蒸发器对水流量要求较高,过低的水流量可以导致蒸发器结冰,损失非常大。
现场或工厂安装靶式流量开关很难保证其需要的直管段。
靶式流量开关靶片长期受压易失效而发生故障,通常在维修保养时每年都需要更换。
压差式可直接安装在冷水机组上,监控的流量可以在工厂设定并调整好,避免现场安装水流开关的不可控性。
压差式采用压差流量计的设计原理,具有长寿命、高可靠性的优点,在要求高可靠性的半导体和电子厂招标文件中不允许使用靶式流量开关而必须使用压差式流量开关,这是他们一年365天均使用冷水机组维持生产环境,长期得出的经验和教训,不再因为水流开关的问题导致停产而蒙受巨大的损失。
压差式流量开关选择只需根据冷水机组要求的最小水流量对应的压差来选择即可,通常对于允许一次泵变流量的冷水机组其保护流量为额定流量的30-40%。
测定方法:
根据水流开关的工作原理,得知靶片面积的大小决定水流开关的闭合和断开流量值。
冷水机组生产企业生产的冷水机组型号是确定的,即冷水机组的制冷量是确定的。而其采购的水流开关是通用型的,即一个水流开关配一套靶片。冷水机组型号要求确定一个与之匹配的水流开关,也就是在一套靶片中确定一个与之匹配的靶片。
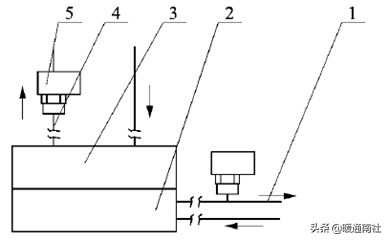
以上例如,确定制冷量为32kW的冷水机组的水流开关的闭合和断开流量值可通过如下方法实现。搭建一个简易的流量测定系统(见下图),先根据经验选择一个靶片,将其安装在水流开关上,再将水流开关安装到流量测定系统中,同时将水流开关控制电路的进出端用电线接入一个带灯泡的指示系统。测定时,可按如下步骤进行。

1.流量计;2.流量调节阀;3.水流开关;4.水泵;5.压力表;6.水箱。
水流开关闭合、断开流量值测定系统
1)启动水泵,此时测定系统水流量处于最大值,水流开关是闭合的,灯泡亮。
2)测定系统运行稳定后,调节流量调节阀,逐渐降低系统水流量,注意流量计读数及灯泡。当灯泡熄灭时,停止调节流量调节阀,记录水流量值,拆下水流开关。将灯泡熄灭时对应的水流量值与计算的水流开关断开流量值(3.1±0.2)m3/h进行比较:如果大于3.3m3/h,应将测定的靶片剪小;如果小于2.9m3/h,则换一个大一点的靶片。
再将水流开关安装到流量测定系统中进行测定。
通过改变靶片的大小来调节水流开关的断开流量、值,直至灯泡熄灭时对应的水流量值在(3.1±0.2)m3/h范围内,此时的靶片与制冷量为32kW的冷水机组水流开关的断开流量值相匹配。
3)测定系统运行稳定后,调节流量调节阀,逐渐增大系统水流量,注意流量计读数及灯泡。当灯泡亮时停止调节流量调节阀,记录水流量值,拆下水流开关。将灯泡亮时对应的水流量值与计算的水流开关闭合流量值(5.5±0.2)m3/h进行比较:如果大于5.7m3/h,应将调节弹簧调短;如果小于5.3m3/h,则将调节弹簧调长。再将水流开关安装到流量测定系统进行测定。通过调节弹簧的长度来调节水流开关的闭合流量值,直至灯泡亮时对应的水流量值在(5.5±0.2)m3/h范围之内。
4)将水流开关的断开流量值和闭合流量值再重复测定3次,检测其重复性。当重复测定值仍然在合理范围(断开流量值(3.1±0.2)m3/h,闭合流量值(5.5±0.2)m3/h)之内时,测定结束。
5)将靶片的形状和调节弹簧的长度记录下来,批量生产32kW冷水机组时,可以直接按照测定数据生产。
虽然测定水流开关的闭合和断开流量值会增加冷水机组生产企业的工作量,但是这项工作非常重要。当企业生产小型家用冷水机组时,可将设计并测定好的水流开关置于机组内部;生产大型冷水机组且机组内部安装不便时,可将设计并测定好的水流开关作为随机附件,供客户在工程安装时使用。这样既能保证冷水机组安全和高效地使用,又能提高用户对企业的评价。












![[伤寒心法要诀]少阳病用柴胡汤加减法](/imgs/baidou-v2/upload/default/19F5C4CFC.jpg)







