

其具有能绕着旋转轴线旋转地布置的缸筒以及构造在控制底部上的固定于壳体的控制面,在缸筒中构造至少一个活塞空槽,一支撑在行程盘上的传动装置活塞纵向可移动地布置在活塞空槽中,缸筒贴靠在控制面上,在控制底部上构造肾状的输入接头和肾状的输出接头,在缸筒绕着旋转轴线旋转时,在活塞空槽和传动装置活塞之间构成的排挤腔交替地与输入接头和输出接头连接,轴向活塞机在缸筒的相同的旋转方向下和在压力介质的相同的流动方向下能够作为泵和作为马达运行,其中在泵运行中在缸筒被驱动时,轴向活塞机通过输入接头吸入压力介质并且供应给输出接头,并且在马达运行中,轴向活塞机由通过输入接头供应的、处于压力下的压力介质驱动。
这种轴向活塞机被以开放的循环回路驱动并且例如被使用在能移动的作业机械中,轴向活塞机能够在缸筒的相同的旋转方向下和在压力介质的相同的流动方向下作为泵和作为马达运行。在泵运行中,轴向活塞机用于供应至少一个消耗器、特别是作业机械的工作液压系统的消耗器,其中轴向活塞机通过输入接头从容器中抽吸压力介质并且输送给与输出接头连接的输送管路中。如果轴向活塞机在输入接头上被加载例如来自压力储存器的处于压力下的压力介质,那么轴向活塞机在缸筒的相同的旋转方向下和在压力介质的相同的流动方向下作为马达来工作,马达实现了,在起动停止功能的框架内起动构造为内燃机且与轴向活塞机传动地连接的驱动马达和/或在助力驱动的框架内通过输出附加扭矩来支持驱动马达。
林德液压的静压轴向活塞机
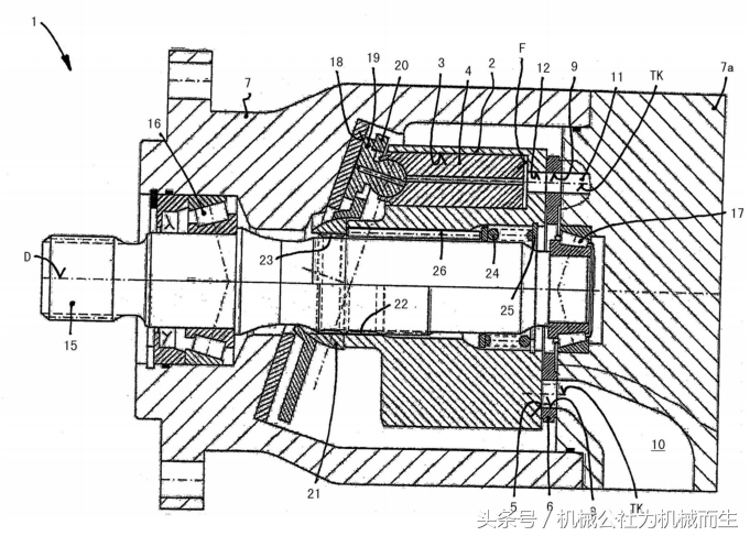
在图中以纵截面图示出现有技术中的斜盘实施方式的静压轴向活塞机1,轴向活塞机以开放的循环回路运行并且在泵运行方面被优化。轴向活塞机1具有能绕着旋转轴线D旋转地布置的缸筒2,缸筒配有多个与旋转轴线D同轴地布置的、布置在部分圆TK上的活塞空槽3,活塞空槽优选地由圆柱形孔构成并且各一个传动装置活塞4能纵向移动地支承在圆柱形孔中。

缸筒2在轴向方向上以端面支撑在固定于壳体的控制面5上,控制面构造在盘状的控制底部6上,控制底部无相对旋转地固定在壳体7上或壳体7的相应壳体盖7a上。控制底部6配有肾状的控制缝槽,控制缝槽构成输入接头8和输出接头9。输入接头8与壳体7中或壳体盖7a中的抽吸通道10连接。构造在壳体7或壳体盖7a中的输送通道11与输出接头9连接。活塞空槽3在缸筒2的端侧上分别配有一个优选肾状的连接通道12,以便在缸筒2绕着旋转轴线D旋转时使由传动装置活塞4和活塞空槽3构成的排挤腔与输入接头8和输出接头9交替地连接。

缸筒2被一个中央孔透穿,与旋转轴线D同轴地布置的驱动轴15通过所述中央穿过所述缸筒2。驱动轴15借助支承装置16,17可旋转地支承在壳体7中。缸筒2例如借助缸筒2的缸筒颈部区域中的齿部22与驱动轴15旋转同步地、然而能轴向移动地连接,所述区域成形在缸筒2上并且沿轴向方向朝行程盘18的方向延伸。

传动装置活塞4在从缸筒2突出的区域中借助各一个例如构造为滑靴19的支撑部件支撑在产生冲程的、相对于旋转轴线D倾斜地布置的行程盘18、例如斜盘上。行程盘18可以成形或固定在壳体7上,其中轴向活塞机1具有固定的排挤量。然而同样可能的是,行程盘18被构造为可借助调节装置、例如回转摇摆件在摆动方向上调节倾斜度,因此轴向活塞机1具有能改变的排挤量并且能单侧地调节。

通过环盘状的抑制板20防止构造为滑靴19的支撑部件从行程盘18抬起。抑制板20与缸筒2一起旋转并且借助由截球面形的或球冠状的抑制盘构成的抑制装置21朝行程盘18的方向加载。抑制装置21例如借助齿部23与驱动轴15旋转同步地、然而能轴向移动地连接。构造为压力弹簧的压紧弹簧24布置在驱动轴15和缸筒2之间的中间空间中。压紧弹簧24在第一端部上借助止挡25、例如安全环支撑在缸筒2上。压紧弹簧24在第二端部上借助销钉26与抑制装置21连接。因此,借助压紧弹簧24将缸筒2压紧在控制面5上并且通过抑制装置21将滑靴19压紧在行程盘18上。
此外,将缸筒2压紧在控制面5上的缸压力作用在缸筒2上。压紧的缸压力由存在于活塞空槽3中的压力和被加载压力的面F得出,所述面相应于活塞空槽3的横截面和连接通道12的横截面的差。





















